原子发射光谱(ICP/AES)理论知识(9)——摄谱法
用摄谱法进行光谱分析时,必须有一些观测设备。常用的设备有:将摄得的谱片进行放大投影在屏上以便观察的光谱投影仪(或称映谱仪),测量谱线黑度时用的测微光度计(黑度计),以及测量谱线间距的比长仪等。
一、 光谱投影仪
在进行光谱定性分析及观察谱片时需用此设备。一般放大倍数为20倍左右。下图是WTY型光谱投影仪的光路图。

光源1(12V50W钨丝灯)的光线,经球面反射镜2反射,通过聚光镜3及隔热玻璃11,再经反射镜10将光线转折550,由聚光镜组3’射向被分析的光谱底板4,使光谱底板上直径为 15 mm的面积得到均匀的照明。投影物镜组6使被均匀照明的光谱线,经过棱镜7,再由平面反射镜9反射,最后投影于白色投影屏12上。投影物镜组6中的透镜5能上下移动,使此仪器的放大倍数可在19.75~20.25的范围内进行调整。8为调节透镜,可转至光路中,以作调节照明强度之用。
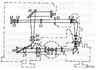
二、 测微光度计
又称黑度计。用来测量感光板上所记录的谱线黑度,主要用于光谱定量分析。 9W型测微光度计的光路如下图所示。
仪器类型
凡是能将不同波长的复合光分解为按波长顺序排列的单色光并能进行观测记录的仪器均称为光谱仪。
一、 棱镜摄谱仪
棱镜摄谱仪是用棱镜作色散元件、用照像的办法记录谱线的光谱仪。其光学系统由照明系统、准光系统、色散系统及投影系统组成,如下图所示。
照明系统通常由一个或三个透镜组成,其主要作用是为了使被分析物质在电极上被激发而成的光源每一点都均匀而有效地照明入射狭缝S,使感光板上所摄得的谱线强度上下均匀一致。
准光系统包括狭缝S及准光镜O1 。狭缝位于准光镜的焦面上,它相当于一个新的光源,再射至准光镜上O1,通过准光镜使光源所发射的球面光变为平行光束而投射到棱镜P上,使入射光对于棱镜的入射角都相同。
色散系统由一个或多个棱镜组成。其作用是使各色光分解为单色光,将不同波长的光以不同的角度折射出来,色散形成光谱。
投影系统包括暗箱物镜O2及感光板F。暗箱物镜使不同波长的光按顺序聚焦在物镜焦面上,而感光板则放在物镜焦面上,这样就可得到一清晰的谱线像——光谱。
二、 光栅摄谱仪
光栅摄谱仪是用光栅作色散元件,用照相干板记录谱线的光谱仪,其光学系统也由照明系统、准光系统、色散系统及投影系统组成。

光源B发射的辐射经过三透镜照明系统L,均匀照明精密狭缝S,投影到反射镜P上,经反射之后投射至凹面反射镜M下方的准光镜O1上,变成平行光束射至平面反射式闪耀光栅G上,经色散后再投射到凹面反射镜上方暗箱物镜O2上,最后按波长顺序排列于感光板F上。转动光栅台D,改变光栅的入射角,可以调节波长范围和改变光谱级次。
三、光电直读光谱仪
光电直读光谱仪是用光栅作色散元件,以光电管或光电倍增管作检测器,通过光电转换和测量,直接显示读数及含量的光谱仪。
活水源整理发布
来源:网络,仅为分享知识,如有侵权,请联系删除。